我们的优势
- 权威上海浦东新区政府认证
- 可靠公司成立十年知名老品牌
- 实力服务世界500企业
- 服务注册,记账商标,策划,网站一条龙
- 安全客户资料信息隐私保护
最新资讯
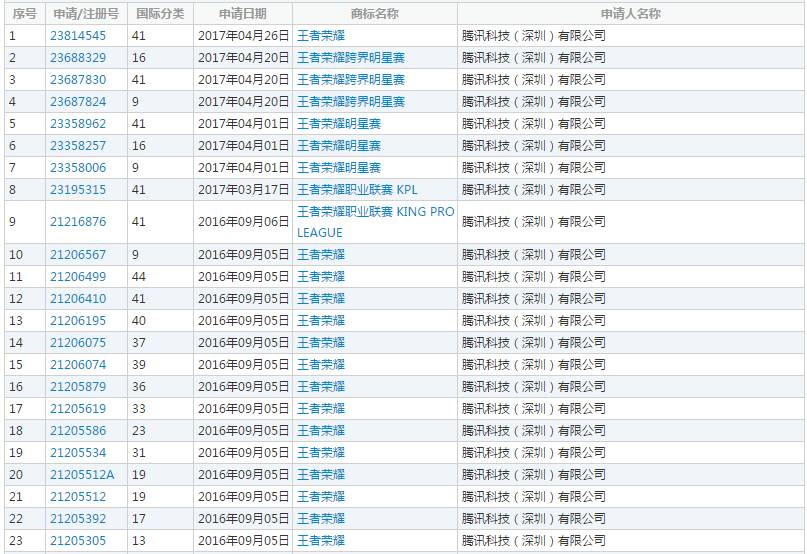
【2017年商标案例】「王者荣耀」商标引华为、腾讯两家争执
众所周知,腾讯的“王者荣耀”游戏推出没多久,已经成为一款全民游戏,为保护该品牌,腾讯申请该商标达56条,其中手机类目与华为荣耀系列有交集,所以引起两家争执。
这款游戏为腾讯哗啦啦地赚钱,腾讯也对这款游戏爱护有加,为了防止有人用类似商标伤害这个品牌,腾讯进行了商标防护。
2015年10月到2016年9月,腾讯申请注册商标达56条,从职业赛事推广到多媒体宣发以及周边产品一应俱全,做到45类全面覆盖。
“王者荣耀”商标
商标注册要产生费用,注册的种类越多,产生的费用越高。但如果不注册,其他种类商品如果申请注册使用是没有门槛的,很可能被他人抢先注册使用。
腾讯注册的“王者荣耀”商标中,第41类是教育、培训、娱乐、文体活动,此项现在已经在使用,王者荣耀相关的比赛有KPL职业联赛、KOC王者城市赛、王者高校赛等。其他还有服装、鞋帽、游戏器具和玩具等。
守护“王者荣耀”商标所有权,腾讯动作迅猛。深圳有一个《王者荣耀》主题手游网吧,这家网吧8月3日收到腾讯的律师函,要求3日内下撤全部《王者荣耀》相关美术作品元素。
另一方面,华为已经生产“荣耀”手机好多年,而且荣耀系列战果辉煌,有不少超过千万台销量的爆款,而腾讯也早就申请了相关商标。
但腾讯有“王者荣耀”手机商标所有权,和华为注册的“荣耀”商标很相似。也就是说,腾讯可以很方便推出自己的手机品牌。
“荣耀”商标(部分)
认为利益受损的华为也动作迅速,申请否决掉“王者荣耀”这个商标在手机领域上的注册。据华为内部人士讲,腾讯针锋相对,称如果华为坚持申请否决,就禁止在其手机中装王者荣耀这款游戏。最终华为不再申请否决。
力量对比
一款游戏,真的就可以让一家著名手机生产商束手就缚?听起来颇有些不可思议。
不过,华为内部人士表示,千万不要低估这款游戏,甚至会有很多人为了这款游戏挑选手机,现在市面上销售的手机品牌众多,在游戏和华为手机之间二选一的话,其实很多人会选这款游戏,“腾讯现在其实是很强势的,这款游戏也非常强势”。
近日,企鹅智酷调研了19040名男性和3894名女性《王者荣耀》玩家。调查中发现,有1/5的女性用户有过因为《王者荣耀》而更换手机的冲动,而男性用户的比例高达36.5%。
有不少手机厂商还以《王者荣耀》使用体验作为卖点,来迎合消费者需求,而网络上到处是最适合《王者荣耀》的N款手机文章。


